日前,3D打印机厂商Tecnica因其创新的3D打印床调平系统获得了一项技术专利。这个专利技术使用了一种独特的对齐和调整工艺,以帮助减少3D打印时间和消除因打印床不平问题而因此的误差。
3D打印机的打印床不能正确地对齐是在新入门的爱好者中常见的错误。为了确保一次准确的打印,首先3D打印机喷嘴到打印床表面的距离要正确,而且打印床表面要完全水平。如果对齐不正确或者根本没有对齐的话,那么打印失败就是一个大概率事件了。可以想象,一次又一次地反复进行这种校准对于3D打印爱好者来说是一个多么麻烦的事情。为此Tecnica希望成功找到一种方法使这一过程尽可能地简单、快速。
该公司享有专利的构建平台可以快速、准确地实现打印表面和打印头之间的对齐,减少准备时间和提高精确度。此外,该公司在设计这项技术时还充分考虑到了它的兼容性。该技术可以与现有的其它品牌3D打印机集成,或者向其它3D打印机制造商提供授权,因此预计这个新专利有可能很快成为一个标准部件。
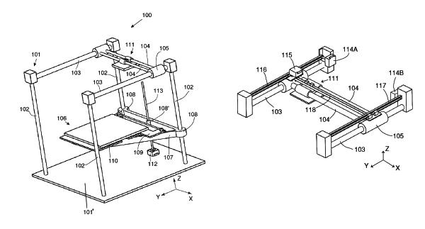
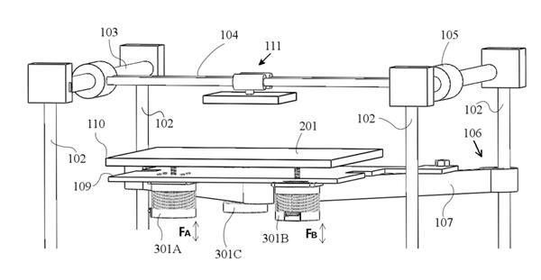
那么这个专利技术的原理是什么样的呢?据该公司介绍称:“该发明主要依靠从打印头发射出来的光,然后对从打印床反射回来的光线进行分析。光源(红外LED)被安装在打印头旁边,其周围安装着光检测器(光学晶体管)。光源会发射出光,并被打印床反射回来。其周围的光检测器会对反射回来的光进行测量(主要是入射角)。整个过程完全自动化,不到一分钟时间即可完成。此外该专利还是用了一个调整算法和一个调平算法来控制调平致动器。”
这个最新的专利进一步扩大了该3D打印公司所拥有的知识产权阵容,其中包括硬件、软件和算法等。Tecnica公司成立于2013年,总部位于纽约Great Neck,该公司成立时的宗旨就是优化3D打印工艺,以更低的成本提供质量更高、分辨率更好的3D打印机。
文章来源:天工社
《3D打印世界》——中国3D打印行业第一本专业月刊(点击可在线阅读)
搜索官方微信账号:“3D打印世界”,新鲜、有料、深度3D打印资讯,尽在3D打印世界!
