2D巨头进军3D打印行业的新闻一直颇受关注。今年2月,《3D打印世界》曾经报道了三星成立独立研究团队研究3D打印、机器人和物联网技术的消息。事实是,三星对3D打印的关注和投入的分量似乎越来越足了。近日,该公司在2014年9月份提交的一份专利申请获得通过,该专利描述了一种新的彩色3D打印工艺。来自韩国的三星员工Yeon Kyoung Jung、O Hyun Beak、Keon Kuk、Eun Bong Han、Yong Hyun Lim和Jong Youb Ryu被登记为发明者。

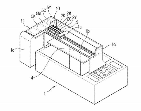
该专利所描述的内容包括一台专有的3D打印机、一种控制打印机的方法、多色光固化墨水和抗互渗色剂。该打印机有几个水箱包含彩色墨水和防渗剂。每种材料都有一个对应的打印头,在上述打印头上还连接着一种光敏引发器用于在打印中固化这些材料。
在打印过程中,打印头将沿着导轨(1B)移动,而打印平台(4)将沿X、Y和Z轴移动。上述打印头将层积多色墨水,每层之间会使用防渗剂。连接到打印头上的光敏引发器会在打印时固化物体。整个过程可以防止在打印不同颜色的墨水组合时出现相邻颜色彼此渗透的情况。
很多人一直在努力开发可行的多色打印工艺。从目前来看,三星的设计相当独特而且实用,因为它是一种连续的多色打印过程。但更重要的是,它可能标志着该公司准备进一步涉足3D打印领域的意图。虽然3D打印行业年出货量并不是很乐观,但是仍然有很多企业投身3D打印浪潮。这其中包括初创公司和老牌打印厂商。随着3D打印领域层出不穷的创新出现,相信越来越多公司会利用这一技术为自己开辟更广阔的发展空间。